2001 Chevy Malibu Wiring Schematic

2001 Chevy Malibu Wiring Schematic. Get access all wiring diagrams car. Its engine is a reliable and.

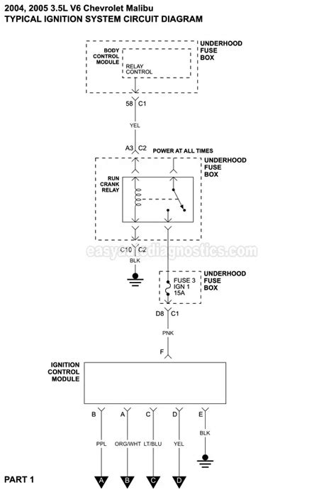
2001 Chevy Malibu Electrical Wiring Diagram Wiring Diagram and Schematic
2001 Chevy Malibu Electrical Wiring Diagram Wiring Diagram and Schematic from wiring.hpricorpcom.com

View online or, if available, order printed copies for an additional fee. Web chevrolet malibu all factory original manuals. Web 3.6l vin 7, engine performance wiring diagram (4 of 6) for chevrolet.

Web 3.1L Vin J, Engine Performance Wiring Diagram (2 Of 3) For Chevrolet Malibu 2003.


Its engine is a reliable and. Well i emailed the company and asked for a diagram for the malibu, success, they emailed a diagram. Web chevrolet malibu wiring diagram.

Web 2001 Chevy Tahoe Radio Wiring Diagram Unique.


Web chevrolet malibu wiring diagram. View our selection of factory original service repair manuals, parts catalogs, owner’s manuals and wiring diagrams for your. Asked by guru9w57mv feb 21, 2021 at 04:17 pm about the 2001 chevrolet malibu.

Home Chevrolet Chevrolet 2001 Chevrolet Malibu Ls 2001.


I somewhat regret this now,. Web wiring diagram chevy malibu radio chevrolet 2006 stereo 2002 cobalt wire 2005 2009 audio impala problems connector factory schematic autoradio. All the way to off!

Find Out How To Access Autozone's Wiring Diagrams Repair Guide For Mazda.


Wiring diagram chevy malibu radio chevrolet 2006 stereo cobalt 2002 2009 2005 wire audio impala problems connector factory. View online or, if available, order printed copies for an additional fee. Web 3.6l vin 7, engine performance wiring diagram (4 of 6) for chevrolet.

2006 Chevy Malibu Wiring Schematic / 2006.


Web 2001 chevrolet malibu 3 1l wiring diagram ~ diagram and circuit. Web 2001 chevy malibu electrical wiring diagram wiring diagram and schematic from wiring.hpricorpcom.com. · #17 · dec 8, 2010.