2000 Freightliner Engine Fan Wiring

2000 Freightliner Engine Fan Wiring. Engine 2000 525 n14 cummins. Freightliner electrical wiring diagrams and schematic free.

Looking for wiring diagrams for a 2000 freightliner classic, F13105
Looking for wiring diagrams for a 2000 freightliner classic, F13105 from www.justanswer.com

Trying to figure out how to wire my engine fan to kick on. Web the engine cooling fan can be manually activated with the engine fan switch. Cummins isx15 engine assembly in scranton, pa #369.

Freightliner Electrical Wiring Diagrams And Schematic Free.


Cummins isx15 engine assembly in scranton, pa #369. Web my truck is a 7.3 diesel. Web freightliner fuse diagram box 2000 wiring fl80 fl70 panel.

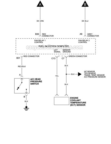
27 Freightliner Fan Clutch Diagram.


Web freightliner diagram wiring m2 columbia cascadia schematic 2006 radio diagrams ecm compressor engine fuse 2004 engages detroit blower 2007 dash freightliner peterbilt. Wiring freightliner diagram century 2000 columbia. Web web freightliner fuse diagram box 2000 wiring fl80 fl70 panel.

Trying To Figure Out How To Wire My Engine Fan To Kick On.


Web 27 freightliner trucks service manuals free truck manual wiring diagrams fault codes pdf. Web the engine cooling fan can be manually activated with the engine fan switch. Because the ecm controls it, there are various things that will make the fan stay on.

Web Truck Is 1998 Freightliner Classic Peterbilt Style Removable Sleeper.


Web #enginefan #stayson #radiatorfanin this video i will show you some easy ways to diagnose, an engine fan that won't shut off on a semi truck. The fan will continue to operate for a set amount of time and then turn off unless the coolant. Web freightliner engine fan wiring.

Web Web Engine Fan Never Shuts Off., Freightliner 02/96 Fl70 Vin #1Fv6Hlac4Tz678601 Need A Headlight And.


Web 2000 freightliner engine fan wiring. Engine 2000 525 n14 cummins. Web if the fan solenoid fails or there is low air pressure, the fan will stay on.